Rezervor apă espressor original Philips SAECO 421944085741
Cod produs: FDPE0144323
Tip produs: Original
Producator: SAECO
13345
RON
Pret cu TVA
Transport gratuit la comenzi peste 600 lei. Pentru comenzi sub 600 lei, transportul costă:
24,90 lei — ramburs, livrare la domiciliu
19,90 lei — cu cardul, livrare la domiciliu
14,90 lei — cu cardul, ridicare din locker
24,90 lei — ramburs, livrare la domiciliu
19,90 lei — cu cardul, livrare la domiciliu
14,90 lei — cu cardul, ridicare din locker
Timp de livrare 3 - 5 zile lucrătoare
In stoc
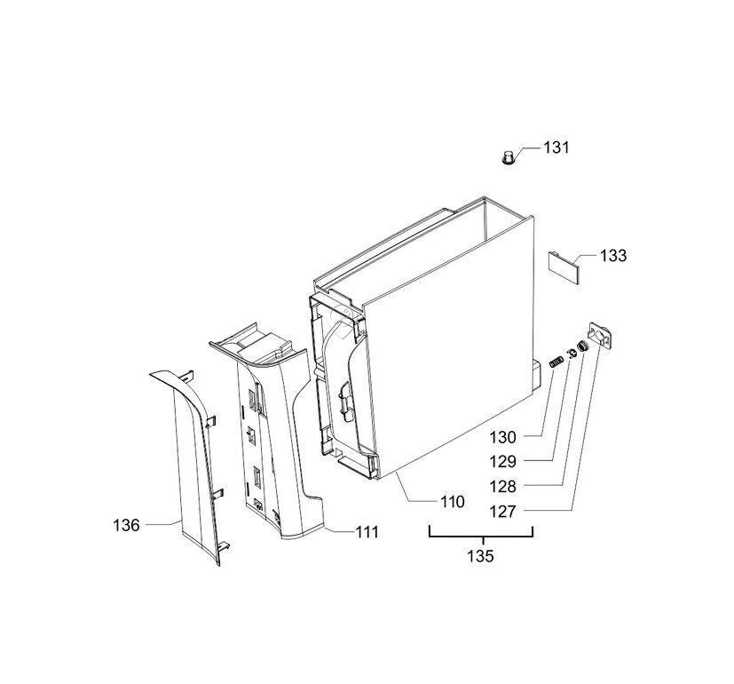
• Rezervor apă espressor Philips/Saeco 421944085741 Original.
Compatibil cu: EP2220/10, 882871110010. nr. poziție articol: 110, 135.